1. (Arts) Opération qui consiste à donner à des pièces de bois, de fer, etc., la forme d'un cintre.
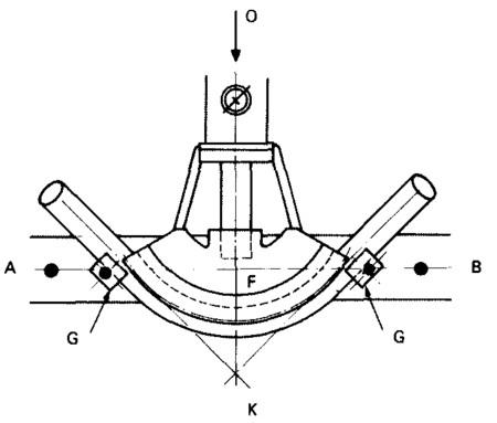
2. Le cintrage est l'opération qui consiste à déformer un métal selon son axe de plus forte inertie. Le cintrage est approprié lorsque l'on veut donner à un morceau de tôle la forme d'une lame de sabre. C'est une opération apparentée au roulage qui lui se réalise, contrairement au cintrage, selon l'axe d'inertie le plus faible. Le roulage est approprié lorsque l'on veut donner à un morceau de tôle la forme d'un cylindre ou d'un cône. En ce qui concerne les tubes et les profilés, on parle plutôt de cintrage que de roulage.
3. État de ce qui est courbe. [Dictionnaire médical de l'Académie de Médecine]
4. Action d'incurver ou résultat de cette action.
5. Action de cambrer.
Le cintrage et le cambrage des tubes.
6. Action de cambrer.
Puis ses caresses frôlèrent doucement mon ventre, mes cuisses, effleurant ma fleur, produisant en moi le cambrage de mes reins cherchant à avaler le producteur de ce plaisir.
(Nina Quézen, Un demi-siècle et alors !: La vie autrement, 2014)
Le cintrage et le cambrage des tubes.
7. Action de plier, résultat de cette action.
En imprimerie, la pliure est le stade du façonnage qui consiste à plier la feuille pour obtenir des cahiers afin de restituer la mise en pages, avant le massicotage.
8. En imprimerie, la pliure est le stade du façonnage qui consiste à plier la feuille pour obtenir des cahiers afin de restituer la mise en pages, avant le massicotage.
9. (Militaire) Sorte d'évolution.
10. Le cintrage est un procédé mécanique de déformation d'un tube ou d'une barre, suivant un rayon et un angle avec une cintreuse. Le terme cintrage est aussi utilisé pour désigner globalement la transformation d'un produit cintré. Il existe plusieurs techniques : par enroulement, par poussée, par roulage et par emboutissage.
11. Action de courber des matériaux tels que le bois ou le métal pour leur donner la forme d'un arc.
La pratique du cintrage du bois de construction (bois massif) date de l'Antiquité.